Products
1. Universal processing angle head suitable in all type of milling heads, can change the processing angle and also bring the powerful and high-quality cutting benefits for machine.
2. This product uses for Japanese gear grinding, so the spindle speed can up to 2000rpm and also can bring the powerful and high-quality cutting benefits for machine.
3. Universal head offer 800rpm or 2000rpm of model for you to optional.
4. There are 2 models in IK Universal Head series.
Besides these characteristics. IK-N95 could be used with IK-N95 semi-automatic hydraulic table. IK-U90+IK-N95 are applied for auto-rotating multi-angle machining. (Accessory Milling Head / Semi-Automatic Angular Head + Position Chainring 90° Angle Head)

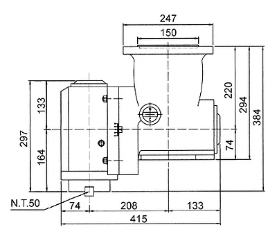
| Model | Unit | IK-U90 |
|---|---|---|
| UNIVERSAL HEAD | ||
| Spindle Bore Diameter | NT50 | |
| Speed Ratio | 1:1 | |
| Max Diameter of Cutter | mm | 150 |
| Max Speed | rpm | 800 / 2000 |
| Country of Origin | Taiwan | |
| Weight (Approximate) | kg | 118 |
| Warranty | 1 year (non artificial mistake) | |

